El Apple Vision Pro, en teoría, se encuentra técnicamente a semanas de ser lanzado para ser el primer gran producto de Apple que se integra al mercado comercial este año 2024.
Durante las últimas semanas, meses ya, hemos sido testigos de cómo Apple ha intentado posicionar este visor de Realidad Mixta como el relevo generacional del iPhone.
Cada pieza de publicidad y mercadotecnia ha planteado paralelismos claros entre el momento histórico donde Steve Jobs presentó al mundo la evolución del teléfono móvil y lo que Tim Cook intenta ahora.
Lo cierto es que quedan algunas cuantas dudas flotando en el aire sobre la funcionalidad real de esta primera generación del Apple Vision Pro y la aceptación comercial que tendrá entre los consumidores.
Después de todo su precio es considerablemente elevado y existen detalles cada vez más inquietantes, como es el caso de la duración real de la batería, con los que Apple ha guardado silencio o no ha sido claro.
Pero aún así parece que ya están preparando todo para la segunda generación de este visor y ahora se ha filtrado una patente que casi podríamos jurar que se convertirá en realidad.
Así sería el Apple Vision Pro Pencil: un stylus para Realidad Mixta
Cuando Apple presentó el Apple presentó el Vision Pro, en junio de 2023 el dispositivo recibió críticas positivas por su diseño, potencia y rendimiento de hardware (la autonomía fue un asunto no abordado, al parecer de forma deliberada).
Pero algunos usuarios expresaron su preocupación por la falta de algún accesorio físico para interactuar con la interfaz del casco. Ahora un nuevo reporte parece sugerir que Tim Cook y compañía ya habían notado eso y tienen algo entre manos.
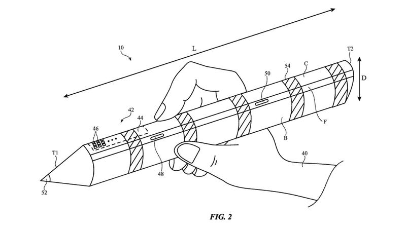
Una nueva patente descubierta por Patently Apple revela que Apple podría estar trabajando en un Apple Pencil gigante para su Vision Pro.
La patente, presentada en enero de 2023, a pocos meses de la presentación formal del visor, describe un controlador de mano con una carcasa en forma de marcador.

El dispositivo podría usarse para escribir, dibujar, seleccionar y manipular elementos en la realidad virtual o aumentada. y por si fuera poco la patente hace referencia explícita al Vision Pro.
Pero también sugiere que el lápiz podría usarse con otros dispositivos, como teléfonos, tabletas, computadoras portátiles y relojes inteligentes.
Una de las características más interesantes del lápiz es su capacidad para mostrar una variedad de “cabezales de cepillo” virtuales. Esto permitiría a los usuarios cambiar el aspecto del lápiz según sus necesidades.

Por ejemplo, podrían hacer que pareciera un pincel, una lata de aerosol o cualquier otra herramienta, funcionando como tal en un entorno de Realidad Mixta.
El stylus igual podría detectar múltiples movimientos como golpes, ondas y sacudidas. De modo que todo parece encajar perfecto para el Apple Vision Pro.
Aunque será necesario esperar para esperar y comprobar que la compañía ha desarrollado un accesorio con estas cualidades.
