En medio de la especulación y la anticipación en la industria de los videojuegos, los rumores sobre la próxima generación de Nintendo Switch han estado girando en torno a una función revolucionaria que podría cambiar completamente la forma en que los gamers disfrutan de sus juegos.
Mientras Nintendo guarda silencio sobre su próxima consola, una patente recientemente descubierta sugiere que la Nintendo Switch 2 podría introducir una característica única y emocionante.
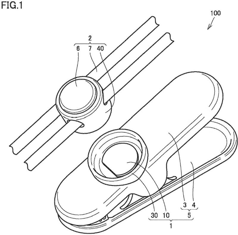
De acuerdo con Alfa Beta, la patente, que se publicó en diciembre de 2022, revela un nuevo dispositivo magnético destinado a una consola de videojuegos. Aunque no se menciona explícitamente a Nintendo Switch, la descripción y el contexto sugieren que esta innovación estaría destinada a la próxima generación de la popular consola híbrida.
La patente, además, describe la incorporación de un dispositivo magnético que podría estar diseñado para los Joy-Con de Nintendo Switch 2, permitiendo el uso de imanes en una función de juego aún desconocida.

¿Será una realidad?
Es importante destacar que el registro de patentes no siempre garantiza que una característica en particular llegue a materializarse, pero en el caso de Nintendo, la implementación de características innovadoras en sus consolas ha sido una parte integral de su enfoque de diseño.
Esta nueva función magnética podría transformar la forma en que los jugadores interactúan con sus juegos, ofreciendo una dimensión completamente nueva de jugabilidad que podría convertirse en una firma distintiva de Nintendo. La compañía siempre ha estado en la vanguardia de la innovación en la industria del videojuego, y esta nueva característica podría ser otra muestra de su creatividad.
Las declaraciones recientes del director ejecutivo de Nintendo, Shuntaro Furukawa, respaldan esta búsqueda constante de nuevas tecnologías para mejorar la experiencia de juego. Furukawa enfatiza que la compañía no solo busca novedades por el mero hecho de ser nuevas, sino que busca tecnologías que puedan revolucionar la forma en que se juega.
