Una patente de Sony que tiene como fecha de realizada el 30 de junio del 2022 se ha filtrado en los medios de comunicación. La información dentro del documento sugiere que algunos dispositivos que de la época del PS3 podrían ser relanzados para que sean compatibles con la nueva PS5.
Si de patentes se tratara, los carros voladores serían más populares que los celulares. Pero sabemos que no es así. La filtración de un plano, por muy interesante que se vea la idea, no significa que se vaya a ejecutar.
Sin embargo, en el caso de esta filtración de Sony, a muchos les emociona traer de regreso algunos dispositivos de la vieja PS3 y así no abandonar por completo los títulos que se desarrollaron bajo la administración de esta consola.
De acuerdo con lo que reseña Level Up, el hardware de la PS3 es el más complejo de la franquicia. Este es uno de los motivos por los cuales el catálogo de videojuegos de esta consola en PS Plus solo se encuentra disponible a través de la nube de streaming.
Por lo tanto, la aparición de esta patente es una esperanza para quienes siguen enganchados con estos juegos retro y los dispositivos que eran compatibles con ella.

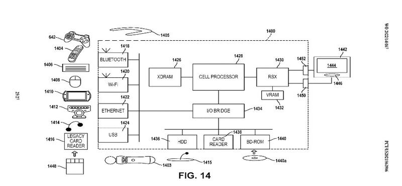
Patente de Sony con dispositivos de PS3
Level Up cita un reporte de Game Rant, que originalmente tuvo acceso al documento. Como les mencionamos tiene apenas días de filtrado ya que registra firma del 30 de junio con el título “Sistemas y métodos para convertir un código heredado en un código actualizado”.
En la imagen se aprecia lo que sería una especie de dispositivo o software capaz de reconocer aparatos de generaciones pasadas para emularlas y hacerlas funcionar en la PS5.
Entre las que destaca el portal citado se encuentran el PSP, el Eye Toy, el mando de PlayStation Move. Asimismo, retrocediendo unos años más, esta patente dice que el aparato reconocería una memory card, un teclado y un mouse.

